引用本文: 黎建, 羅震洋, 舒平, 劉娟, 廖麗, 田歆. 新生兒顱骨骨膜下血腫骨化臨床CT分析. 華西醫學, 2015, 30(4): 729-731. doi: 10.7507/1002-0179.20150208 復制
新生兒顱骨骨膜下血腫是新生兒產傷所致頭皮血腫的一種常見類型[1-2]。不同于成人顱骨骨膜下血腫,新生兒顱骨骨膜下血腫大部分可自行吸收消散[3-4],極少數慢性骨膜下血腫骨化后可誤診為顱骨發育畸形或顱骨骨病[5]。我們對2008年2月-2012年8月經CT檢查、隨訪證實和手術證實的15例新生兒顱骨骨膜下血腫骨化的臨床特點、CT表現加以總結和分析,以提高對該病的認識,選擇最佳治療時機。
1 資料與方法
1.1 一般資料
15例患兒均經產道自然分娩,孕周38~43周;出生體質量3.2~4.3 kg;男9例,女6例;年齡4周~3個月,平均年齡2個月。15例新生兒顱骨骨膜下血腫中,頭盆不稱或胎位不正4例,胎頭吸引器和(或)產鉗助產11例。出生后1~2 d頭頂部出現漸進增大隆起的質軟包塊,5~6 d后大小穩定,包塊基底部最大直線范圍4.5~7.6 cm,未經任何治療處理,以后逐漸變硬,病程4周~3個月。15例患兒均行手術清除新生骨。見表 1。

1.2 檢查方法
均在患兒睡眠中或口服0.5 mL/kg的10%水合氯醛鎮靜睡眠情況下掃描;使用GE HiSpeed Dual螺旋CT,管電壓120 kV,管電流100 mA,掃描時間1.0 s,層厚5 mm,層間距5 mm,軸位自顱底掃描達頂,分別進行標準算法軟組織重建和高分辨算法骨重建。
2 結果
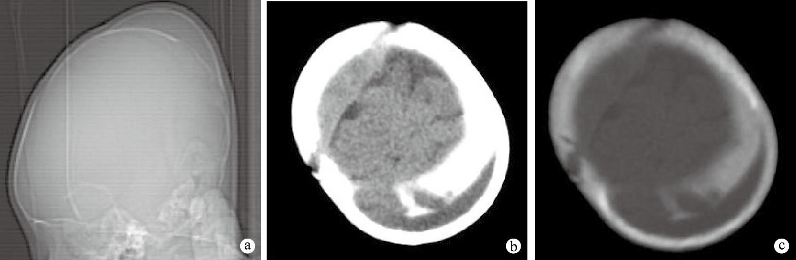
15例顱骨骨膜下血腫均為單個血腫,位于左或右側頂骨外表面,局限于一側頂骨范圍內,顱骨輕度下陷,骨質密度稍減低;骨膜下見新生弧形骨質密度影,內外邊緣光整,結構、密度、弧度與顱骨相似,血腫邊緣新生骨與顱骨外板相延續,鈍角相交,緊密連接,新生骨與顱骨間見新月形軟組織密度影,CT值17~27 HU,呈“夾心餅征”樣之雙層顱板表現;其中3例大小與頂骨相當的血腫下顱骨內外板及板障全層骨質部分吸收消失;顱內腦實質及腦溝、池未見明顯異常改變。典型病例頭顱CT圖像見圖 1。

a.頭顱側位示頂部新生骨丘狀隆起,后頂部顱骨骨質密度稍減低,少部分缺失 b.頂部斷層腦組織窗,左頂部新生骨與顱骨間見新月形稍低密度影,CT值17 HU,腦實質及腦溝、池未見明顯異常改變 c.頂部斷層骨窗,左側頂骨輕度下陷,骨質密度稍減低,部分內外板及板障全層骨質吸收消失;頭皮下見新生弧形骨質密度影,內外邊緣光整,結構、密度、弧度與顱骨相似,厚度均勻,邊緣與顱骨外板相延續,緊密連接;新生骨與顱骨間見新月形間隙,呈“夾心餅征”樣之雙層顱板表現
3 討論
新生兒顱骨骨膜下血腫多見于初產婦和足月、過期產或巨大兒,多發生于經產道分娩,并有頭盆不稱、胎位不正和使用胎頭吸引器、產鉗助產史,以及與急產、娩頭困難和接生技術等因素有關[6-7]。在分娩過程中,由于胎頭受產道骨性突起部位壓迫或助產牽引受傷,導致骨膜下血管破裂,血液積留在骨膜下而形成骨膜下血腫[8-9]。
顱骨骨膜下血腫因骨膜局限阻隔、血液循環和代謝差而吸收十分緩慢,吸收演變過程與顱內硬膜外血腫相似。而新生兒特殊時期顱骨骨膜膜內成骨和破骨活動非常活躍,在血腫直徑>4.5 cm[10]、病程>4周的慢性期較大血腫的刺激下[3, 11],假包膜并同掀起的骨膜則極易短期內鈣化并骨化,近似形成新生顱骨,原有顱骨內外板可逐漸吸收消散,新生骨有替代原顱骨形成新顱骨的趨勢,導致不同于成人的特異性臨床和影像表現。
大多數新生兒及嬰兒骨膜下血腫可自行吸收消散,為了防止并發感染,前4周應對血腫觀察隨訪[3],并及時向患兒家屬充分交代病情和注意事項,準時隨診;15例中血腫骨化最短病程為4周,4周后血腫未明顯縮小,則根據具體情況或給予藥物止血或穿刺抽吸等治療措施[3, 12]。
據文獻報道,新生兒顱外產傷所致頭皮血腫發生率為2.55%[6]或3.53%[7],骨化發生率為0.61%[4]。臨床上常常對其不夠重視[2]或認識不足和錯誤[13],致部分骨膜下血腫骨化,失去最佳治療時期[2, 13]。新生兒頭皮腫常見于:產瘤、皮下血腫、帽狀腱膜下血腫和骨膜下血腫,以產瘤最常見,但勿輕率認為所有頭皮腫均為產瘤;所有頭皮血腫中,82%[3]或93.8%[4]可自行吸收消散,但勿輕易認為所有頭皮血腫均會自行吸收消散。臨床體格檢查不易鑒別頭皮腫類型,需影像學檢查,對懷疑血腫骨化時選擇CT檢查最敏感[14-15]。正確認識,早期處理,避免形成頭顱畸形,錯過最佳治療時機,增加治療難度,加重患兒痛苦和患兒家庭負擔,引發不必要的醫療投訴和醫療糾紛。
新生兒顱骨骨膜下血腫是新生兒產傷所致頭皮血腫的一種常見類型[1-2]。不同于成人顱骨骨膜下血腫,新生兒顱骨骨膜下血腫大部分可自行吸收消散[3-4],極少數慢性骨膜下血腫骨化后可誤診為顱骨發育畸形或顱骨骨病[5]。我們對2008年2月-2012年8月經CT檢查、隨訪證實和手術證實的15例新生兒顱骨骨膜下血腫骨化的臨床特點、CT表現加以總結和分析,以提高對該病的認識,選擇最佳治療時機。
1 資料與方法
1.1 一般資料
15例患兒均經產道自然分娩,孕周38~43周;出生體質量3.2~4.3 kg;男9例,女6例;年齡4周~3個月,平均年齡2個月。15例新生兒顱骨骨膜下血腫中,頭盆不稱或胎位不正4例,胎頭吸引器和(或)產鉗助產11例。出生后1~2 d頭頂部出現漸進增大隆起的質軟包塊,5~6 d后大小穩定,包塊基底部最大直線范圍4.5~7.6 cm,未經任何治療處理,以后逐漸變硬,病程4周~3個月。15例患兒均行手術清除新生骨。見表 1。

1.2 檢查方法
均在患兒睡眠中或口服0.5 mL/kg的10%水合氯醛鎮靜睡眠情況下掃描;使用GE HiSpeed Dual螺旋CT,管電壓120 kV,管電流100 mA,掃描時間1.0 s,層厚5 mm,層間距5 mm,軸位自顱底掃描達頂,分別進行標準算法軟組織重建和高分辨算法骨重建。
2 結果
15例顱骨骨膜下血腫均為單個血腫,位于左或右側頂骨外表面,局限于一側頂骨范圍內,顱骨輕度下陷,骨質密度稍減低;骨膜下見新生弧形骨質密度影,內外邊緣光整,結構、密度、弧度與顱骨相似,血腫邊緣新生骨與顱骨外板相延續,鈍角相交,緊密連接,新生骨與顱骨間見新月形軟組織密度影,CT值17~27 HU,呈“夾心餅征”樣之雙層顱板表現;其中3例大小與頂骨相當的血腫下顱骨內外板及板障全層骨質部分吸收消失;顱內腦實質及腦溝、池未見明顯異常改變。典型病例頭顱CT圖像見圖 1。

a.頭顱側位示頂部新生骨丘狀隆起,后頂部顱骨骨質密度稍減低,少部分缺失 b.頂部斷層腦組織窗,左頂部新生骨與顱骨間見新月形稍低密度影,CT值17 HU,腦實質及腦溝、池未見明顯異常改變 c.頂部斷層骨窗,左側頂骨輕度下陷,骨質密度稍減低,部分內外板及板障全層骨質吸收消失;頭皮下見新生弧形骨質密度影,內外邊緣光整,結構、密度、弧度與顱骨相似,厚度均勻,邊緣與顱骨外板相延續,緊密連接;新生骨與顱骨間見新月形間隙,呈“夾心餅征”樣之雙層顱板表現
3 討論
新生兒顱骨骨膜下血腫多見于初產婦和足月、過期產或巨大兒,多發生于經產道分娩,并有頭盆不稱、胎位不正和使用胎頭吸引器、產鉗助產史,以及與急產、娩頭困難和接生技術等因素有關[6-7]。在分娩過程中,由于胎頭受產道骨性突起部位壓迫或助產牽引受傷,導致骨膜下血管破裂,血液積留在骨膜下而形成骨膜下血腫[8-9]。
顱骨骨膜下血腫因骨膜局限阻隔、血液循環和代謝差而吸收十分緩慢,吸收演變過程與顱內硬膜外血腫相似。而新生兒特殊時期顱骨骨膜膜內成骨和破骨活動非常活躍,在血腫直徑>4.5 cm[10]、病程>4周的慢性期較大血腫的刺激下[3, 11],假包膜并同掀起的骨膜則極易短期內鈣化并骨化,近似形成新生顱骨,原有顱骨內外板可逐漸吸收消散,新生骨有替代原顱骨形成新顱骨的趨勢,導致不同于成人的特異性臨床和影像表現。
大多數新生兒及嬰兒骨膜下血腫可自行吸收消散,為了防止并發感染,前4周應對血腫觀察隨訪[3],并及時向患兒家屬充分交代病情和注意事項,準時隨診;15例中血腫骨化最短病程為4周,4周后血腫未明顯縮小,則根據具體情況或給予藥物止血或穿刺抽吸等治療措施[3, 12]。
據文獻報道,新生兒顱外產傷所致頭皮血腫發生率為2.55%[6]或3.53%[7],骨化發生率為0.61%[4]。臨床上常常對其不夠重視[2]或認識不足和錯誤[13],致部分骨膜下血腫骨化,失去最佳治療時期[2, 13]。新生兒頭皮腫常見于:產瘤、皮下血腫、帽狀腱膜下血腫和骨膜下血腫,以產瘤最常見,但勿輕率認為所有頭皮腫均為產瘤;所有頭皮血腫中,82%[3]或93.8%[4]可自行吸收消散,但勿輕易認為所有頭皮血腫均會自行吸收消散。臨床體格檢查不易鑒別頭皮腫類型,需影像學檢查,對懷疑血腫骨化時選擇CT檢查最敏感[14-15]。正確認識,早期處理,避免形成頭顱畸形,錯過最佳治療時機,增加治療難度,加重患兒痛苦和患兒家庭負擔,引發不必要的醫療投訴和醫療糾紛。