引用本文: 王萍. 三腔管牽拉支架的制作與應用. 華西醫學, 2017, 32(2): 319-320. doi: 10.7507/1002-0179.201505183 復制
食管胃底靜脈曲張出血為肝癌、肝硬化失代償期患者的嚴重并發癥,短時間內失血量可>1 000 mL,病情兇險,病死率高,有效的緊急止血是挽救患者生命、改善預后的關鍵之所在[1]。當藥物治療不能控制出血時需要使用三腔二囊管壓迫止血[2]。三腔二囊管壓迫止血是門脈高壓引起食管、胃底靜脈曲張破裂出血的急救措施之一,是利用氣囊及牽拉的力量,壓迫胃賁門側,壓迫食管靜脈叢而達到止血的功效。三腔管壓迫止血的方法是一種有效的解決胃底靜脈破裂出血的治療方法,而在插管之后直到患者恢復的整個過程中,科學及時的護理是患者順利恢復的保證[3]。目前臨床上進行三腔管治療時,以落地輸液架放在床尾作為牽拉的支架,三腔管尾端系上繩索向床尾方向牽拉,繩索掛在輸液架上,牽拉角度為 45°,牽拉質量為 0.5 kg[4]。隨著制作工藝的改進,如今的輸液架都以輕便型的不銹鋼材質為主,自重不足,在受到外力作用時穩定性差,作為輸液架使用時由于輸液袋重力垂直向下,尚能保持穩固性;而作為三腔管牽拉支架時,由于受到 2 個不同方向的牽拉力的作用,懸掛牽拉重物后容易傾倒,需要用磚塊等重物壓住輸液架底座;輸液架放在床尾,一則容易被絆倒,造成牽拉治療中斷,引起醫療安全事件,二則也影響通行;另外,患者轉運時需要有專人負責照看輸液架以保證牽拉作用。為此,我們制作了一種三腔管牽拉支架,自 2013 年在我院使用至今,取得了滿意的效果。現報告如下。
1 材料與方法
1.1 材料
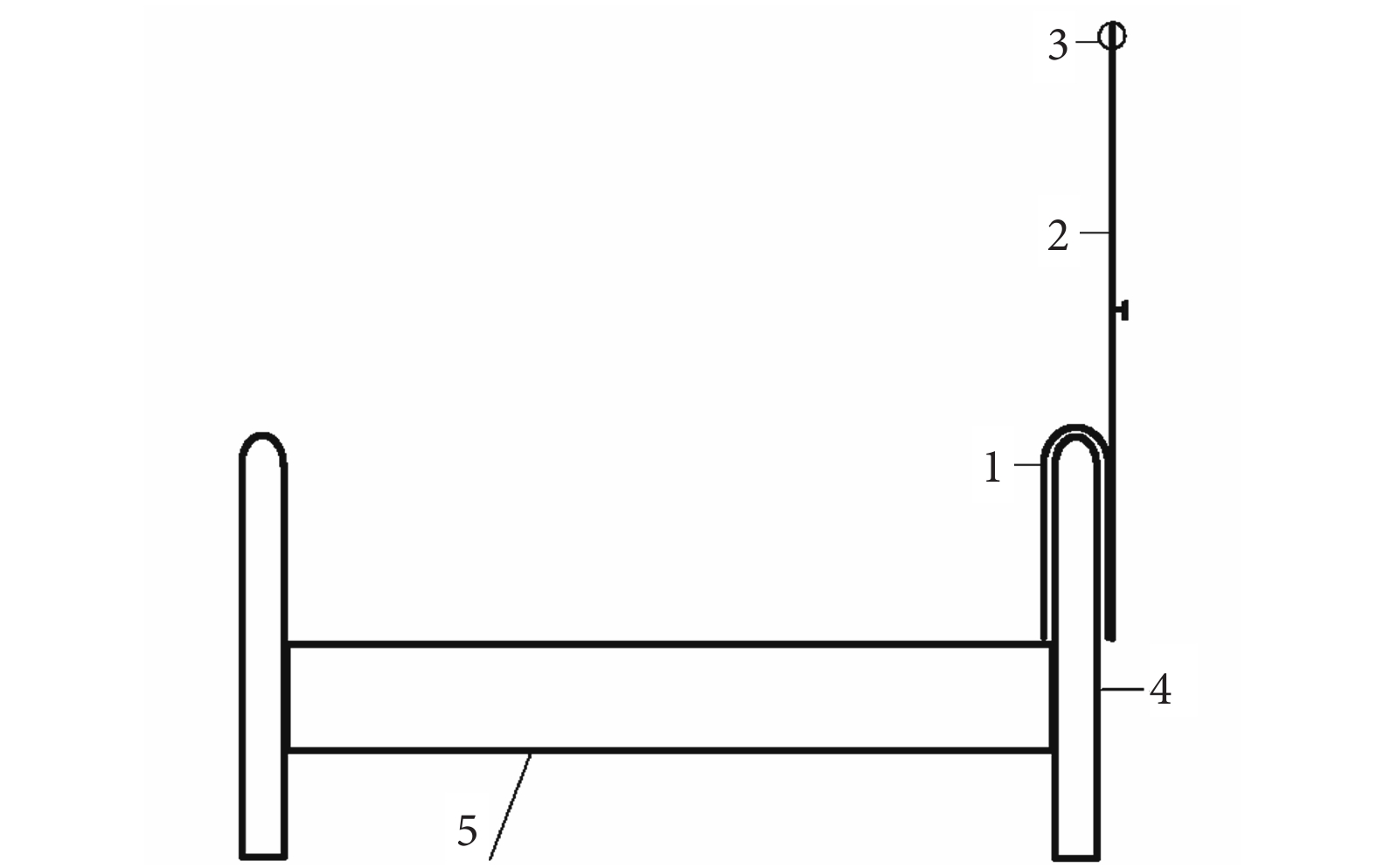
n 型不銹鋼管 2 根(n 型管開口的內徑根據床尾架的厚薄而定),40 cm 直型不銹鋼管 4 根,可伸縮式不銹鋼套管 1 根,滑輪 1 個。
1.2 方法
1.2.1 制作方法 2 個 n 型管之間用 4 根直型鋼管焊接,向上的支架焊接在一側橫桿的中間位置,滑輪安裝在支架頂端,見圖 1。

1.2.2 使用方法 三腔管置管操作完成后,支架 n 型管的開口部分安插在病床的床尾架上,牽拉的繩索穿過支架頂部的滑輪后系上 0.5 kg 的重物,通過伸縮式套管調節支架的高低,使牽拉繩索角度與患者面部呈 45° 角,持續牽拉三腔管以達到壓迫止血的目的。見圖 2。

1.3 效果評價
選取 2014 年 1 月—2015 年 3 月在我院使用過該支架的急診醫護人員 15 名、消化科醫護人員 26 名發放問卷調查表,了解使用輸液架作為支架和使用專用牽拉支架在臨床護理工作中的方便性、安全性、適用性,方便性主要評價使用的復雜程度,安全性是評價臨床應用的穩固性及可靠性,適用性是評價該支架的適用范圍。
1.4 統計學方法
采用 SPSS 19.0 軟件進行數據處理和分析。計數資料采用絕對數和百分率表示,組間比較采用χ2 檢驗。檢驗水準α=0.05。
2 結果
2.1 臨床應用
該支架于 2013 年 6 月起在我院急診搶救室使用,已用于 12 例上消化道出血患者三腔管壓迫止血治療,其中 10 例患者病情穩定后攜帶三腔管轉送至消化內科治療,支架留在消化內科繼續使用;2 例患者在搶救室留置三腔管觀察 24 h 無繼續出血征象,拔管后轉送至消化內科治療。12 例患者中,2 例留置三腔管 24 h,9 例留置 48 h,1 例留置 72 h,無出血征象后拔管。12 例患者在三腔管留置期間均未發生由于牽拉支架意外傾倒或滑脫而導致的牽拉治療中斷。
2.2 醫護人員對支架的評價
發放問卷調查表共 41 份,實際回收 41 份,回收率 100%。調查結果顯示,醫護人員認為專用牽拉支架在方便性、安全性和適用性方面均優于使用輸液架作支架,差異均有統計學意義(P<0.05)。見表 1。

3 討論
3.1 保證急救措施實施的及時性和有效性
上消化道大出血是肝硬化門靜脈高壓最常見的并發癥之一,多由食道胃底靜脈曲張破裂所致,常因突發大出血使患者迅速進入失血性休克狀態,如不及時搶救,可能危及患者生命,此時應用雙囊三腔管壓迫是止血的有效方法之一[5]。三腔二囊管壓迫止血法始自 20 世紀 50 年代,采用氣囊壓迫胃底部黏膜下靜脈,使血液不流向破裂的食管靜脈而達到止血目的,暫時止血效果肯定,近期止血率達 90%,可為進一步搶救、治療贏得時間[6]。早期進行三腔管治療時,使用輸液架作牽拉支架,牽拉繩通過輸液架掛鉤時摩擦力較大,不能達到有效的牽拉,尤其在患者躁動不安時,更會影響牽拉效果[7]。我們制作的牽拉支架在三腔管置管完成后,將其安插在病床的床尾架上,不需要任何另外的加固措施,安裝方便且穩固,為急救措施的及時落實提供了有力保障,且停止牽拉治療后方便拿取,不影響病床外觀。另外,此支架頂端帶有滑輪,牽拉繩通過滑輪時,減小了摩擦力,從而達到有效的牽拉效果;且支架為可伸縮式,患者改變床頭高低時,支架的高低可進行相應的升高或降低,減輕患者的不適感,保證 45° 的牽拉角度,保證牽引的有效性,從而確保三腔管壓迫止血治療的有效性。
3.2 保證急救措施的安全性
使用輸液架作為牽拉支架,穩定性差、高度不適宜,放在床尾處影響行走及搶救患者,忙亂之中有絆倒輸液架的可能。而使用該支架安插在病床床尾架上,保證了病室環境的整潔,便于人員走動,避免了輸液架被絆倒而導致的牽拉中斷及人員受傷。此外,患者在醫院內進行轉運時,可進行持續牽拉,而不需額外關注牽拉支架的問題,保障了治療的連續性和安全性,極大地方便了患者病情穩定后實施的轉運工作。
3.3 提高醫護人員工作的滿意度
合適的設備能為患者提供安全、有效的治療護理措施,保證治療的效果。安向東等[8]查找在應用急救設備儀器中存在的問題及搶救中存在的隱患,發現在搶救過程中不能及時獲得所需的物品是首要問題。使用三腔管專用牽拉支架,便捷的使用方法在一定程度上能緩解搶救過程中醫護人員的緊張、慌亂的情緒,提升工作的滿意度。
綜上所述,三腔管牽拉支架解決了三腔管牽拉治療時使用輸液架作為支架所存在的穩固性差、安全性低等方面的問題,其便捷的使用方法保障了急救措施落實的時效性,提高了工作效率,從而為上消化道大出血患者進行三腔管壓迫止血急救工作的實施提供了有力的保證。
食管胃底靜脈曲張出血為肝癌、肝硬化失代償期患者的嚴重并發癥,短時間內失血量可>1 000 mL,病情兇險,病死率高,有效的緊急止血是挽救患者生命、改善預后的關鍵之所在[1]。當藥物治療不能控制出血時需要使用三腔二囊管壓迫止血[2]。三腔二囊管壓迫止血是門脈高壓引起食管、胃底靜脈曲張破裂出血的急救措施之一,是利用氣囊及牽拉的力量,壓迫胃賁門側,壓迫食管靜脈叢而達到止血的功效。三腔管壓迫止血的方法是一種有效的解決胃底靜脈破裂出血的治療方法,而在插管之后直到患者恢復的整個過程中,科學及時的護理是患者順利恢復的保證[3]。目前臨床上進行三腔管治療時,以落地輸液架放在床尾作為牽拉的支架,三腔管尾端系上繩索向床尾方向牽拉,繩索掛在輸液架上,牽拉角度為 45°,牽拉質量為 0.5 kg[4]。隨著制作工藝的改進,如今的輸液架都以輕便型的不銹鋼材質為主,自重不足,在受到外力作用時穩定性差,作為輸液架使用時由于輸液袋重力垂直向下,尚能保持穩固性;而作為三腔管牽拉支架時,由于受到 2 個不同方向的牽拉力的作用,懸掛牽拉重物后容易傾倒,需要用磚塊等重物壓住輸液架底座;輸液架放在床尾,一則容易被絆倒,造成牽拉治療中斷,引起醫療安全事件,二則也影響通行;另外,患者轉運時需要有專人負責照看輸液架以保證牽拉作用。為此,我們制作了一種三腔管牽拉支架,自 2013 年在我院使用至今,取得了滿意的效果。現報告如下。
1 材料與方法
1.1 材料
n 型不銹鋼管 2 根(n 型管開口的內徑根據床尾架的厚薄而定),40 cm 直型不銹鋼管 4 根,可伸縮式不銹鋼套管 1 根,滑輪 1 個。
1.2 方法
1.2.1 制作方法 2 個 n 型管之間用 4 根直型鋼管焊接,向上的支架焊接在一側橫桿的中間位置,滑輪安裝在支架頂端,見圖 1。

1.2.2 使用方法 三腔管置管操作完成后,支架 n 型管的開口部分安插在病床的床尾架上,牽拉的繩索穿過支架頂部的滑輪后系上 0.5 kg 的重物,通過伸縮式套管調節支架的高低,使牽拉繩索角度與患者面部呈 45° 角,持續牽拉三腔管以達到壓迫止血的目的。見圖 2。

1.3 效果評價
選取 2014 年 1 月—2015 年 3 月在我院使用過該支架的急診醫護人員 15 名、消化科醫護人員 26 名發放問卷調查表,了解使用輸液架作為支架和使用專用牽拉支架在臨床護理工作中的方便性、安全性、適用性,方便性主要評價使用的復雜程度,安全性是評價臨床應用的穩固性及可靠性,適用性是評價該支架的適用范圍。
1.4 統計學方法
采用 SPSS 19.0 軟件進行數據處理和分析。計數資料采用絕對數和百分率表示,組間比較采用χ2 檢驗。檢驗水準α=0.05。
2 結果
2.1 臨床應用
該支架于 2013 年 6 月起在我院急診搶救室使用,已用于 12 例上消化道出血患者三腔管壓迫止血治療,其中 10 例患者病情穩定后攜帶三腔管轉送至消化內科治療,支架留在消化內科繼續使用;2 例患者在搶救室留置三腔管觀察 24 h 無繼續出血征象,拔管后轉送至消化內科治療。12 例患者中,2 例留置三腔管 24 h,9 例留置 48 h,1 例留置 72 h,無出血征象后拔管。12 例患者在三腔管留置期間均未發生由于牽拉支架意外傾倒或滑脫而導致的牽拉治療中斷。
2.2 醫護人員對支架的評價
發放問卷調查表共 41 份,實際回收 41 份,回收率 100%。調查結果顯示,醫護人員認為專用牽拉支架在方便性、安全性和適用性方面均優于使用輸液架作支架,差異均有統計學意義(P<0.05)。見表 1。

3 討論
3.1 保證急救措施實施的及時性和有效性
上消化道大出血是肝硬化門靜脈高壓最常見的并發癥之一,多由食道胃底靜脈曲張破裂所致,常因突發大出血使患者迅速進入失血性休克狀態,如不及時搶救,可能危及患者生命,此時應用雙囊三腔管壓迫是止血的有效方法之一[5]。三腔二囊管壓迫止血法始自 20 世紀 50 年代,采用氣囊壓迫胃底部黏膜下靜脈,使血液不流向破裂的食管靜脈而達到止血目的,暫時止血效果肯定,近期止血率達 90%,可為進一步搶救、治療贏得時間[6]。早期進行三腔管治療時,使用輸液架作牽拉支架,牽拉繩通過輸液架掛鉤時摩擦力較大,不能達到有效的牽拉,尤其在患者躁動不安時,更會影響牽拉效果[7]。我們制作的牽拉支架在三腔管置管完成后,將其安插在病床的床尾架上,不需要任何另外的加固措施,安裝方便且穩固,為急救措施的及時落實提供了有力保障,且停止牽拉治療后方便拿取,不影響病床外觀。另外,此支架頂端帶有滑輪,牽拉繩通過滑輪時,減小了摩擦力,從而達到有效的牽拉效果;且支架為可伸縮式,患者改變床頭高低時,支架的高低可進行相應的升高或降低,減輕患者的不適感,保證 45° 的牽拉角度,保證牽引的有效性,從而確保三腔管壓迫止血治療的有效性。
3.2 保證急救措施的安全性
使用輸液架作為牽拉支架,穩定性差、高度不適宜,放在床尾處影響行走及搶救患者,忙亂之中有絆倒輸液架的可能。而使用該支架安插在病床床尾架上,保證了病室環境的整潔,便于人員走動,避免了輸液架被絆倒而導致的牽拉中斷及人員受傷。此外,患者在醫院內進行轉運時,可進行持續牽拉,而不需額外關注牽拉支架的問題,保障了治療的連續性和安全性,極大地方便了患者病情穩定后實施的轉運工作。
3.3 提高醫護人員工作的滿意度
合適的設備能為患者提供安全、有效的治療護理措施,保證治療的效果。安向東等[8]查找在應用急救設備儀器中存在的問題及搶救中存在的隱患,發現在搶救過程中不能及時獲得所需的物品是首要問題。使用三腔管專用牽拉支架,便捷的使用方法在一定程度上能緩解搶救過程中醫護人員的緊張、慌亂的情緒,提升工作的滿意度。
綜上所述,三腔管牽拉支架解決了三腔管牽拉治療時使用輸液架作為支架所存在的穩固性差、安全性低等方面的問題,其便捷的使用方法保障了急救措施落實的時效性,提高了工作效率,從而為上消化道大出血患者進行三腔管壓迫止血急救工作的實施提供了有力的保證。