面向因病痛或自然衰老等原因腿部運動功能受到輕度影響的患者或老年人,本文提出了一種可穿戴外骨骼機器人系統,通過體重支撐的方式減輕雙腿在行走過程中對髖、膝、踝關節和腿部肌肉的負載,以實現行走輔助的功能。考慮到使用人群的心理訴求和病癥特點,有別于固定式或跟隨式康復機器人上配有的減重系統,本文提出的外骨骼機器人結構美觀,輕巧便攜。系統通過足底壓力傳感器實時對使用者的步態進行分析,通過步態相的劃分,針對各步態相提出不同的控制策略。通過座椅上的壓力傳感器實時監測外骨骼提供支撐力度的大小,且驅動控制使用比例-積分-微分 (PID) 控制技術進行力矩控制。機器人系統總重 12.5 kg,站立時平均輔助支撐約 10 kg,行走中平均輔助支撐約 3 kg,起到了一定的體重支撐效果,減輕了行走和站立時對下肢的壓力。
引用本文: 謝崢, 王明江, 黃武龍, 雍珊珊, 王新安. 基于實時步態分析的行走輔助外骨骼機器人系統. 生物醫學工程學雜志, 2017, 34(2): 265-270. doi: 10.7507/1001-5515.201607075 復制
引言
照顧行動不便的老年人,已經成為老齡化國家的社會性問題。例如膝關節骨性關節炎[1],作為一種終身性疾病,會造成膝關節疼痛、無力和不同程度的活動受限,一方面嚴重影響了老年人的健康水平和生活質量,另一方面從心理上也影響了老年人的運動積極性。這種不能行走或不愿行走的情況會使腿部肌肉力量逐漸變弱,最后甚至會造成臥床不起。適當的康復治療可以改善癥狀、延緩病情的發展,將病情控制在一定程度內。最積極有效的方法,是在無需看護的情況下,提供一種可以輔助行走的設備,幫助其繼續行走[2]。輔助行走的機器人作為一種自動執行任務的機器裝置[3],用以協助人體的行走功能,特別是為患者的日常行走活動提供方便,已經成為了該領域的研究熱點。
行走輔助機器人的研究根據用戶的病癥程度和訓練目的不同,選擇不同的結構、助力方式和控制方法。其中包括:位置固定多配合跑步機使用的行走輔助機器人,例如 Vashista 等[4]設計的主動式骨盆拴系輔助;位置可以根據用戶的動作而移動的行走輔助機器人,例如 Dine 等[5]使用固定在老人身上的慣性測量單元來跟蹤他們的姿態,評估質量中心和零力矩點,從而使移動機器人與用戶的步行運動保持同步,并從用戶背部進行支持。然而以上兩種類型的行走輔助機器人更適合于病情較為嚴重的人群。對于癥狀較為輕微,但仍然需要提供日常生活獨立行走輔助以增強行走能力的人群,Kim 等[6]設計了智能移動步行器,以小車的方式通過簡化算法實現對地形斜度的評估和適應;Kawamoto 等[7]則利用肌電信號和簡單動作相的劃分實現反饋控制的混合下肢助力(hybrid assistive leg,HAL)系統等。
本文提出的基于實時步態分析的行走輔助外骨骼機器人系統,采用可穿戴的移動式體重支撐結構,以向上托舉骨盆為助力方式,減輕雙腿在行走過程中對髖、膝、踝關節和腿部肌肉的負載,從而減輕患處的負荷,增強行走能力,達到輔助行走的功能。通過足底壓力傳感信息對步態相進行劃分,使用支撐座上的壓力傳感信息實時監測系統提供的人機之間上托助力的大小,使用多重反饋的控制方法提高安全性和柔順性。
1 結構設計
1.1 助力方式
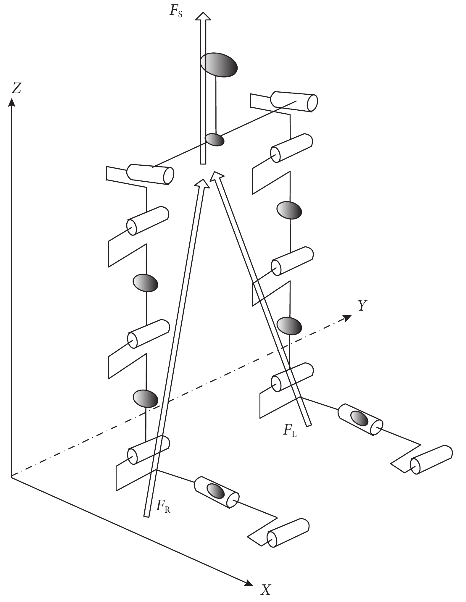
圖 1 所示為文獻[5]中對人行走過程進行的三維幾何建模,下半身各部分的建模使用了帶有質點的棍棒圖[8],而上半身的質量整合在了一個質點上。在康復訓練中,為了減少患者行走過程中的負擔,使其更輕松地保持身體的平衡性,康復設備的設計會采用懸吊[9]或托舉骨盆[10]的方式支撐部分體重,而設備所受的反作用力最終會作用在地面。人在行走過程中,雙腳承擔全部體重,地面對腳的反作用力基本指向骨盆附近的人體重心位置[11],所以本文提出的外骨骼機器人以地面反作用力的作用點為支撐點,沿地面反作用力的方向,向上對人體重心進行支撐,在骨盆下方與人體接觸實現減重助力,相較其他康復訓練設備,在行走過程中助力更加自然,即由地面從左右腳腳底支撐點發力FL 和FR,經外骨骼機器人傳到骨盆下方的襠部位置,匯合為向上的托舉支撐力FS。

1.2 結構設計
基于實時步態分析的行走輔助外骨骼機器人結構如圖 2 所示,主要包括 4 個部分:支撐座、大腿連桿、小腿連桿、足部底座。支撐座與大腿連桿之間通過一個半圓形滑道連接,大腿連桿可以在滑道上沿矢狀軸方向做前后滑動,支撐座可以相對滑道沿矢狀軸旋轉,與文獻[12]相比,在滑道上使用了 V 型槽設計,避免了死鎖情況的發生。大腿連桿與小腿連桿連接,可以沿冠狀軸旋轉,大腿連桿裝有電池、力矩電機、減速器、離合器、傳動部件和處理單元。小腿連桿與足部底座相連,可以沿冠狀軸和垂直軸旋轉。足部底座裝有金屬卡扣,可以和鞋子卡緊固定。在支撐座和鞋子里分別裝有壓力傳感器,用來采集支撐力和足底壓力。大小腿連桿上裝有高精度 6 軸慣性導航模塊,監測大小腿連桿間的角度。大小腿連桿之間形成的連接為唯一主動關節,外骨骼通過主動控制該關節的打開,將地面的反作用力支撐到盆骨底部。支撐座與使用者襠部的卡位,結合支撐腿的足底支撐點,形成了外骨骼的穩定性和平衡性。力矩電機、減速器和離合裝置主要集中在大腿連桿后部,一方面去除了放在大腿連桿前部對行走的阻礙,另一方面有助于使用者抬腿時大腿連桿在滑道上的滑動。

2 控制方法
2.1 傳感與步態劃分
本文使用壓阻式薄膜壓力傳感器,布設在第一腳趾骨末端和后腳跟處,以監測足底壓力的變化,如圖 3 所示。同時在支撐座上放置了多個壓力傳感器,綜合表征支撐力的大小,如圖 4 所示。文獻[2]在足底安裝了地面反作用力傳感器,同時在腿部使用了肌電采集裝置,建立了步態相內髖膝關節屈曲和伸展動作時肌電信號的對應關系,將步態相分別劃分為左右腳的擺動相和支撐相,以預設的能量輔助比例為目標進行反饋控制。文獻[13]為了準確評估擺動速度,將單腿的步態分為了 8 個階段:初始接觸、承重反應、站立中期、站立末期、擺動之前、初始擺動、擺動中期、擺動末期。本文提出的基于實時步態分析的行走輔助外骨骼機器人系統,驅動大小腿連桿間的連接,以地面為支撐點發力,所以不對擺動期進行細分,只將支撐期細分為腳跟著地期、全腳掌著地期、腳尖著地期,用以改善機械結構在支撐期和擺動期切換時的動作延時,增加動作過程的柔順性,如圖 5 所示。



2.2 驅動與控制
本文使用力矩電機配合伺服控制器的驅動方式,伺服控制器以比例-積分-微分(proportion-integral-derivative,PID)控制的方式完成輸出力矩控制,主處理器單元根據傳感信息和控制算法向伺服控制器發送指令,完成邏輯環閉環反饋控制。如圖 6 所示,控制框圖中,傳感單元采集左右腳前后兩點的壓力數據、支撐座中的支撐力信息、大小腿連桿的角度信息,提供給處理器單元,用于分析單足的步態相、同一時間點雙足的步態情況,計算實時的支撐力數據,根據不同情況下預設的支撐力參考范圍調整對輸出力矩的實時要求,判斷安全狀態,根據系統需要的反應速度和負載情況設定伺服控制器的 PID 參數,經過 PID 反饋控制環輸出電流給力矩電機,以驅動機械結構運動,由人和機械結構的交互產生傳感單元采集的信息,完成邏輯閉環反饋控制。伺服控制器有電流環、速度環、位置環三個調節器。PID 控制中,給定值r(t)與實際輸出值y(t)構成控制偏差e(t),經比例、微分、積分運算后,將輸出信號u(t)作為被控對象的輸入信號。即:
$\begin{array}{c}e(t) = r(t) - y(t)\\u(t) = {K_P}[e(t) + \frac{1}{{{T_i}}}\int\limits_0^t {e(t){\rm{d}}t} + {T_d}\frac{{{\rm{d}}e(t)}}{{{\rm{d}}t}}]\\G(s) = \frac{{U(s)}}{{E(s)}} = {K_P}(1 + \frac{1}{{{T_i}s}} + {T_d}s)\end{array}$ |
其中KP 表示比例系數;Ti 表示積分時間常數;Td 表示微分時間常數。

如圖 7 所示,系統實時監測左右腳前后點足底壓力、支撐座壓力、大小腿連桿角度、緊急制動信息,判斷單足所處的步態相以及雙足所處的步態相,結合使用者與支撐座的接觸情況和安全信息,計算電機輸出力矩值。

步態長期的不對稱性可能會導致動態平衡控制能力的降低等問題[14],為解決這一問題,文獻[15]中的外骨骼將健側運動特征轉換為了患側的運動參考,而本文為了解決這一問題,采用雙支撐相按比例分配的原則,設置外骨骼雙腿需要提供的支撐力。即:
$\begin{array}{l}{N_{\rm{L}}} = \frac{{{F_{\rm{L}}}}}{{{F_{\rm{L}}} + {F_{\rm{R}}}}} \times N\\{N_{\rm{R}}} = \frac{{{F_{\rm{R}}}}}{{{F_{\rm{L}}} + {F_{\rm{R}}}}} \times N\end{array}$ |
其中FL 表示左腳前后兩壓力點的綜合壓力值,FR 表示右腳前后兩壓力點的綜合壓力值,NL 表示外骨骼左腿應承擔的支撐力值,NR 表示外骨骼右腿應承擔的支撐力值,N 表示總支撐力的需求值。綜合壓力值在不同的步態相按照不同的比例系數對前后壓力點進行累計。而所承擔的支撐力值會轉化為電機的輸出力矩。
3 實現與結果
對 PID 參數的調節,比例單元 P 調節響應速度,積分單元 I 消除穩態誤差,微分單元 D 減弱超調趨勢。外骨骼系統需要根據穿戴者的動作迅速做出反應和調整。PID 參數的調試如圖 8 所示,綜合考慮反應速度和負載情況,PID 選定為 4 000、400、0 的組合。

主要受力構件選擇輕質、高強度的合金鋼材料,受力小的構件選擇鋁合金材料并做空心化處理。最終的整機重量約為 12.5 kg,其中包括兩塊 24 V 6 AH 的充電鋰電池,站立時減重約 10 kg,行走中平均輔助支撐約 3 kg,續航大于 2 h,實物如圖 9 所示。

在體驗證實驗中,足底壓力在行走過程中呈現周期性變化,各周期之間存在一定的差異。每只鞋的前后兩個壓力傳感點中,后面傳感點的壓力會比前面傳感點的壓力出現著地臨界值的時間早,并且后面傳感點的壓力出現離地臨界值的時間也會早于前面傳感點的壓力,這樣就可以有效區分單足支撐相中的三種情況。根據行走的習慣,當身體重心壓力習慣性地集中在腳的后部時,后面傳感點的壓力在高位的持續時間會較長;當身體重心壓力習慣性地集中在腳的前部時,前面傳感點的壓力在高位的持續時間會較長。在支撐相中,后面傳感點的壓力在高位波動中出現局部下降的低谷時,一般會對應前面傳感點的壓力出現局部峰值的情況。支撐力會在雙腳支撐時較大,單腳支撐時較小,再根據行走過程中骨盆的上下浮動,呈現周期性的變化。
4 結論與展望
本文提出的基于實時步態分析的行走輔助外骨骼機器人系統,利用可移動的減重裝置在站立和行走過程中對人體進行支撐,有效地減小了下肢各關節和肌肉所承受的壓力。對于老年人或腿部運動功能受到輕度影響的患者,具有輔助行走的功能,增強了其行走的能力,減輕了病痛。穿戴方面,僅需穿入配套的鞋子中,打開開關便可以使用,體積小,輕便。通過對步態的細分控制,將外骨骼本身的重量直接轉移到了地面,不會對用戶造成影響。通過預設的方式,可以改變對支撐力的要求。為了攜帶更加便利、運動更加自然,下一步還可在結構和重量上進行優化。助力的穩定性和柔順性方面則可通過改善外骨骼雙腿的協同性來進一步提高。
引言
照顧行動不便的老年人,已經成為老齡化國家的社會性問題。例如膝關節骨性關節炎[1],作為一種終身性疾病,會造成膝關節疼痛、無力和不同程度的活動受限,一方面嚴重影響了老年人的健康水平和生活質量,另一方面從心理上也影響了老年人的運動積極性。這種不能行走或不愿行走的情況會使腿部肌肉力量逐漸變弱,最后甚至會造成臥床不起。適當的康復治療可以改善癥狀、延緩病情的發展,將病情控制在一定程度內。最積極有效的方法,是在無需看護的情況下,提供一種可以輔助行走的設備,幫助其繼續行走[2]。輔助行走的機器人作為一種自動執行任務的機器裝置[3],用以協助人體的行走功能,特別是為患者的日常行走活動提供方便,已經成為了該領域的研究熱點。
行走輔助機器人的研究根據用戶的病癥程度和訓練目的不同,選擇不同的結構、助力方式和控制方法。其中包括:位置固定多配合跑步機使用的行走輔助機器人,例如 Vashista 等[4]設計的主動式骨盆拴系輔助;位置可以根據用戶的動作而移動的行走輔助機器人,例如 Dine 等[5]使用固定在老人身上的慣性測量單元來跟蹤他們的姿態,評估質量中心和零力矩點,從而使移動機器人與用戶的步行運動保持同步,并從用戶背部進行支持。然而以上兩種類型的行走輔助機器人更適合于病情較為嚴重的人群。對于癥狀較為輕微,但仍然需要提供日常生活獨立行走輔助以增強行走能力的人群,Kim 等[6]設計了智能移動步行器,以小車的方式通過簡化算法實現對地形斜度的評估和適應;Kawamoto 等[7]則利用肌電信號和簡單動作相的劃分實現反饋控制的混合下肢助力(hybrid assistive leg,HAL)系統等。
本文提出的基于實時步態分析的行走輔助外骨骼機器人系統,采用可穿戴的移動式體重支撐結構,以向上托舉骨盆為助力方式,減輕雙腿在行走過程中對髖、膝、踝關節和腿部肌肉的負載,從而減輕患處的負荷,增強行走能力,達到輔助行走的功能。通過足底壓力傳感信息對步態相進行劃分,使用支撐座上的壓力傳感信息實時監測系統提供的人機之間上托助力的大小,使用多重反饋的控制方法提高安全性和柔順性。
1 結構設計
1.1 助力方式
圖 1 所示為文獻[5]中對人行走過程進行的三維幾何建模,下半身各部分的建模使用了帶有質點的棍棒圖[8],而上半身的質量整合在了一個質點上。在康復訓練中,為了減少患者行走過程中的負擔,使其更輕松地保持身體的平衡性,康復設備的設計會采用懸吊[9]或托舉骨盆[10]的方式支撐部分體重,而設備所受的反作用力最終會作用在地面。人在行走過程中,雙腳承擔全部體重,地面對腳的反作用力基本指向骨盆附近的人體重心位置[11],所以本文提出的外骨骼機器人以地面反作用力的作用點為支撐點,沿地面反作用力的方向,向上對人體重心進行支撐,在骨盆下方與人體接觸實現減重助力,相較其他康復訓練設備,在行走過程中助力更加自然,即由地面從左右腳腳底支撐點發力FL 和FR,經外骨骼機器人傳到骨盆下方的襠部位置,匯合為向上的托舉支撐力FS。

1.2 結構設計
基于實時步態分析的行走輔助外骨骼機器人結構如圖 2 所示,主要包括 4 個部分:支撐座、大腿連桿、小腿連桿、足部底座。支撐座與大腿連桿之間通過一個半圓形滑道連接,大腿連桿可以在滑道上沿矢狀軸方向做前后滑動,支撐座可以相對滑道沿矢狀軸旋轉,與文獻[12]相比,在滑道上使用了 V 型槽設計,避免了死鎖情況的發生。大腿連桿與小腿連桿連接,可以沿冠狀軸旋轉,大腿連桿裝有電池、力矩電機、減速器、離合器、傳動部件和處理單元。小腿連桿與足部底座相連,可以沿冠狀軸和垂直軸旋轉。足部底座裝有金屬卡扣,可以和鞋子卡緊固定。在支撐座和鞋子里分別裝有壓力傳感器,用來采集支撐力和足底壓力。大小腿連桿上裝有高精度 6 軸慣性導航模塊,監測大小腿連桿間的角度。大小腿連桿之間形成的連接為唯一主動關節,外骨骼通過主動控制該關節的打開,將地面的反作用力支撐到盆骨底部。支撐座與使用者襠部的卡位,結合支撐腿的足底支撐點,形成了外骨骼的穩定性和平衡性。力矩電機、減速器和離合裝置主要集中在大腿連桿后部,一方面去除了放在大腿連桿前部對行走的阻礙,另一方面有助于使用者抬腿時大腿連桿在滑道上的滑動。

2 控制方法
2.1 傳感與步態劃分
本文使用壓阻式薄膜壓力傳感器,布設在第一腳趾骨末端和后腳跟處,以監測足底壓力的變化,如圖 3 所示。同時在支撐座上放置了多個壓力傳感器,綜合表征支撐力的大小,如圖 4 所示。文獻[2]在足底安裝了地面反作用力傳感器,同時在腿部使用了肌電采集裝置,建立了步態相內髖膝關節屈曲和伸展動作時肌電信號的對應關系,將步態相分別劃分為左右腳的擺動相和支撐相,以預設的能量輔助比例為目標進行反饋控制。文獻[13]為了準確評估擺動速度,將單腿的步態分為了 8 個階段:初始接觸、承重反應、站立中期、站立末期、擺動之前、初始擺動、擺動中期、擺動末期。本文提出的基于實時步態分析的行走輔助外骨骼機器人系統,驅動大小腿連桿間的連接,以地面為支撐點發力,所以不對擺動期進行細分,只將支撐期細分為腳跟著地期、全腳掌著地期、腳尖著地期,用以改善機械結構在支撐期和擺動期切換時的動作延時,增加動作過程的柔順性,如圖 5 所示。



2.2 驅動與控制
本文使用力矩電機配合伺服控制器的驅動方式,伺服控制器以比例-積分-微分(proportion-integral-derivative,PID)控制的方式完成輸出力矩控制,主處理器單元根據傳感信息和控制算法向伺服控制器發送指令,完成邏輯環閉環反饋控制。如圖 6 所示,控制框圖中,傳感單元采集左右腳前后兩點的壓力數據、支撐座中的支撐力信息、大小腿連桿的角度信息,提供給處理器單元,用于分析單足的步態相、同一時間點雙足的步態情況,計算實時的支撐力數據,根據不同情況下預設的支撐力參考范圍調整對輸出力矩的實時要求,判斷安全狀態,根據系統需要的反應速度和負載情況設定伺服控制器的 PID 參數,經過 PID 反饋控制環輸出電流給力矩電機,以驅動機械結構運動,由人和機械結構的交互產生傳感單元采集的信息,完成邏輯閉環反饋控制。伺服控制器有電流環、速度環、位置環三個調節器。PID 控制中,給定值r(t)與實際輸出值y(t)構成控制偏差e(t),經比例、微分、積分運算后,將輸出信號u(t)作為被控對象的輸入信號。即:
$\begin{array}{c}e(t) = r(t) - y(t)\\u(t) = {K_P}[e(t) + \frac{1}{{{T_i}}}\int\limits_0^t {e(t){\rm{d}}t} + {T_d}\frac{{{\rm{d}}e(t)}}{{{\rm{d}}t}}]\\G(s) = \frac{{U(s)}}{{E(s)}} = {K_P}(1 + \frac{1}{{{T_i}s}} + {T_d}s)\end{array}$ |
其中KP 表示比例系數;Ti 表示積分時間常數;Td 表示微分時間常數。

如圖 7 所示,系統實時監測左右腳前后點足底壓力、支撐座壓力、大小腿連桿角度、緊急制動信息,判斷單足所處的步態相以及雙足所處的步態相,結合使用者與支撐座的接觸情況和安全信息,計算電機輸出力矩值。

步態長期的不對稱性可能會導致動態平衡控制能力的降低等問題[14],為解決這一問題,文獻[15]中的外骨骼將健側運動特征轉換為了患側的運動參考,而本文為了解決這一問題,采用雙支撐相按比例分配的原則,設置外骨骼雙腿需要提供的支撐力。即:
$\begin{array}{l}{N_{\rm{L}}} = \frac{{{F_{\rm{L}}}}}{{{F_{\rm{L}}} + {F_{\rm{R}}}}} \times N\\{N_{\rm{R}}} = \frac{{{F_{\rm{R}}}}}{{{F_{\rm{L}}} + {F_{\rm{R}}}}} \times N\end{array}$ |
其中FL 表示左腳前后兩壓力點的綜合壓力值,FR 表示右腳前后兩壓力點的綜合壓力值,NL 表示外骨骼左腿應承擔的支撐力值,NR 表示外骨骼右腿應承擔的支撐力值,N 表示總支撐力的需求值。綜合壓力值在不同的步態相按照不同的比例系數對前后壓力點進行累計。而所承擔的支撐力值會轉化為電機的輸出力矩。
3 實現與結果
對 PID 參數的調節,比例單元 P 調節響應速度,積分單元 I 消除穩態誤差,微分單元 D 減弱超調趨勢。外骨骼系統需要根據穿戴者的動作迅速做出反應和調整。PID 參數的調試如圖 8 所示,綜合考慮反應速度和負載情況,PID 選定為 4 000、400、0 的組合。

主要受力構件選擇輕質、高強度的合金鋼材料,受力小的構件選擇鋁合金材料并做空心化處理。最終的整機重量約為 12.5 kg,其中包括兩塊 24 V 6 AH 的充電鋰電池,站立時減重約 10 kg,行走中平均輔助支撐約 3 kg,續航大于 2 h,實物如圖 9 所示。

在體驗證實驗中,足底壓力在行走過程中呈現周期性變化,各周期之間存在一定的差異。每只鞋的前后兩個壓力傳感點中,后面傳感點的壓力會比前面傳感點的壓力出現著地臨界值的時間早,并且后面傳感點的壓力出現離地臨界值的時間也會早于前面傳感點的壓力,這樣就可以有效區分單足支撐相中的三種情況。根據行走的習慣,當身體重心壓力習慣性地集中在腳的后部時,后面傳感點的壓力在高位的持續時間會較長;當身體重心壓力習慣性地集中在腳的前部時,前面傳感點的壓力在高位的持續時間會較長。在支撐相中,后面傳感點的壓力在高位波動中出現局部下降的低谷時,一般會對應前面傳感點的壓力出現局部峰值的情況。支撐力會在雙腳支撐時較大,單腳支撐時較小,再根據行走過程中骨盆的上下浮動,呈現周期性的變化。
4 結論與展望
本文提出的基于實時步態分析的行走輔助外骨骼機器人系統,利用可移動的減重裝置在站立和行走過程中對人體進行支撐,有效地減小了下肢各關節和肌肉所承受的壓力。對于老年人或腿部運動功能受到輕度影響的患者,具有輔助行走的功能,增強了其行走的能力,減輕了病痛。穿戴方面,僅需穿入配套的鞋子中,打開開關便可以使用,體積小,輕便。通過對步態的細分控制,將外骨骼本身的重量直接轉移到了地面,不會對用戶造成影響。通過預設的方式,可以改變對支撐力的要求。為了攜帶更加便利、運動更加自然,下一步還可在結構和重量上進行優化。助力的穩定性和柔順性方面則可通過改善外骨骼雙腿的協同性來進一步提高。