假肢是截肢患者重獲行動能力的唯一途徑,識別人體下肢運動中的支撐期和擺動期,對控制假肢十分重要。本文基于人體下肢表面肌電(sEMG)信號對人行走步態周期中的支撐期、擺動期進行識別。利用加拿大公司生產的Infiniti生理數據采集系統,對人體下肢相關肌肉sEMG信號進行采集,用加權濾波窗進行濾波,并用限高窗進行分析,判定目標肌肉起始收縮的時間點,以確定支撐期、擺動期的開始時間。利用加權濾波窗和限高窗分析股直肌、脛骨前肌sEMG信號,能較為準確的完成對支撐期、擺動期的區分,在一定的容忍度范圍內,能得到很高的正確率。實驗表明,sEMG信號能夠反映人體運動意愿,利用人體下肢相關肌肉進行支撐期、擺動期的識別是可行的,提出的分析sEMG信號的方法有一定的實際應用價值。
引用本文: 耿曉博, 楊鵬, 王欣然, 耿艷利, 韓瑜. 基于移動窗的人體下肢運動支撐期和擺動期的識別. 生物醫學工程學雜志, 2014, 31(2): 273-278. doi: 10.7507/1001-5515.20140051 復制
引言
在現有醫學條件下,截肢患者通常選擇佩戴假肢重新獲得一定的運動能力[1]。智能假肢為假肢佩戴者提供了更加舒適、可靠的選擇。智能假肢通過機械結構或者電子裝置等非人力手段來改變假肢膝關節的阻力。利用特定傳感器檢測步態特征,根據一定的控制方法來自動調整假肢膝關節的阻尼,可以隨著步行狀態的變化實時調整膝關節阻尼,如此可獲得出色的步態跟隨性和對稱性。再配合適當的機械結構,可保證假肢佩戴者的安全性。
目前,智能假肢主要通過霍爾、陀螺儀、加速度計等傳感器采集人體下肢運動信息作為控制假肢的信號源[2-3]。除此之外,很多學者提出采集人體下肢表面肌電(surface electromyographic,sEMG)信號,作為控制假肢的信號[4]。肌電(electromyogram,EMG)信號是一種周圍神經系統級別的標準信號,它可以反映出肌肉活動狀態,sEMG信號是其在皮膚表面綜合效應的反映。sEMG信號的測量相比于EMG信號和其他生理電信號,具有容易測量、信號幅值較大等特點。現在已經有學者在設計和使用利用無線設備傳輸的EMG信號和ECG信號檢測裝置[5]。更加有利于這類人體生理信號的采集和分析。此外,sEMG信號與其他人體運動學信息相比,具有能夠反映人運動意識的特點。因為,EMG信號是刺激肌肉收縮的直接因素,所以EMG信號是因,肌肉收縮是果。EMG信號的根源是神經電信號,神經電信號來自神經中樞(不一定是大腦)。國外有些研究機構和學者,針對sEMG信號的這一優點,正在研制新型智能上肢假肢和電腦人機接口。但是sEMG信號的采集環境較為復雜,包含了很多噪聲,使得sEMG信號變得不穩定。而且sEMG信號用去控制下肢假肢還有一個主要特點,它是時變的,同一運動模式下,sEMG信號的具體表現是有差別的[6]。如圖 1中,EMG信號在每個周期中大致的趨勢是一樣的,但細節處差別很大。這就是利用sEMG信號作為控制信號需要克服的一個問題。本文主要針對人體下肢sEMG信號在控制下肢假肢中的應用展開討論。

在智能假肢的控制中對人行走步態的劃分是很重要的。人行走步態可劃分為支撐期和擺動期,在不同的階段對假肢的控制策略是不同的。本文通過對sEMG信號的濾波、特征值提取進行算法開發,并設計驗證實驗,利用sEMG信號對支撐期、擺動期進行區分,探索sEMG信號在控制下肢假肢中的可用性。
1 肌肉動作識別
人體行走是在下肢各塊肌肉按一定規律收縮、舒張來完成的,人行走在不同的路況下,肌肉的收縮規律有所不同,這也是本文對路況識別的理論基礎。第一步要做的就是通過sEMG信號對肌肉動作的進行識別。
本文采用Thought Technology公司出品的Infiniti(MODEL SA7550)人體生理信息采集系統,采集人體下肢肌肉sEMG信號。該采集系統對原始EMG信號進行整流、放大、均方根處理,采樣頻率為256,得到預處理的sEMG信號。利用小波分析、移動平均濾波等方法對先對波形進行濾波處理,再進行特征值的提取[7]。這樣就破壞了算法的實時性。在本文設計實驗中將得到的預處理過的sEMG信號作為的原始信號,保證后面介紹的算法的實時性,而算法中有濾波步驟。
通過sEMG信號對肌肉動作的進行識別,是識別步態周期和路況的基礎。識別主要分為對肌肉收縮開始時刻的識別和收縮結束時刻的識別。難點在于,sEMG信號是非平穩信號,是各種頻率成分的波形的疊加。在肌肉靜息狀態和收縮狀態的轉換過程中伴隨很多大小不等的震動,肌肉在收縮過程中也有很多高頻成分,如圖 1所示。
由于sEMG自身信號的特點,使得使用簡單的閾值法對其進行分析結果十分不準確,針對這一缺陷,本文采用移動窗的方法加以解決。
1.1 加權濾波移動窗
在對連續信號進行采樣后的數據進行分析時,可采取一種移動窗的方法,在一段數據內提取特征值,如平均值,隨著移動窗向前移動,能夠分析完整段信號[8]。這樣做的好處在于利于特征值的提取,降低算法的復雜性,提高算法的魯棒性。
本文采用由兩層窗的組成的疊加窗來分析sEMG信號。第一層窗負責對波形進行濾波,為第二層窗的肌肉起始動作的識別提供條件。
第一層窗叫加權濾波窗。加權濾波就是給原始sEMG信號每個采樣點的幅值進行加權,使得波形更加整齊,利于后面的分析、處理。所加權值由窗內各點與前一點差值的絕對值通過求和平均得到的。計算公式為
$q=\frac{\sum\limits_{i=0}^{n-1}{\left| si{{g}_{i+1}}-si{{g}_{i}} \right|}}{n},$ |
$SI{{G}_{k}}=q*si{{g}_{n/2}},$ |
其中q為所求權值;n為窗的長度,即窗內采樣點個數,k為移動窗的次序,sigi為窗內第i點的幅值,SIGk為第k個窗口加權濾波后的sEMG信號幅值。
每個窗得到一個權值q,這個權值反映了這個窗內幅值震蕩的激烈程度,側面反映了窗內高頻成分的多少。一般在sEMG信號上升后q值變大,信號震蕩劇烈,高頻成分增多。用移動窗求得的對應圖 1中信號的權值的曲線如圖 2(a)所示。
下面要做的就是加權。把q作為權值乘以對應點sEMG信號的幅值,意義在于把真正的大幅震動和前面所提到了起振前的小幅震蕩區分的更加明顯。因為起振前的小幅震蕩雖然看起來雜亂,但高頻成分比肌肉真正開始收縮后要少的多,再乘以較小的幅值就能和較大的q值乘以肌肉真正收縮時較大的幅值區分的更加明顯。然后除以一定的倍數,使得波形整體基本回歸正常幅值水平。這樣就起到了濾波的作用。圖 1中信號加權濾波的結果如圖 2(b)所示。
窗的長度是n,即含有n個采樣點,則有n個點可以選來進行加權。一般選擇窗頭、窗尾、窗中點。如果選擇窗頭,權值體現該點之前一段時間內的波形震蕩情況,加權濾波窗就可和后面的限高窗合為一個窗,不影響實時性。如果選擇窗中點,則能體現某一時刻前后一段時間的震蕩情況,體現的震蕩信息更完整,但會使得后面限高窗的移動相對加權濾波窗滯后一段時間。這也是為什么把這兩個移動窗叫做雙層窗,而不是一層窗中的兩種特征值。選取窗中點進行加權的加權公式如式(2) 所示。
1.2 限高窗
限高窗是一個窗頭和窗尾高度差不超過一個定值h,窗的長度不超過n的移動窗,可以看作一個兩個直角邊為定值的移動直角三角形,如圖 3所示。三角形向右移動,當三角形抵住波形時,即移動窗的窗頭值與窗尾值的差大于等于h時,要找的起始點圈定在圖 3(a)中A~B之間。為保證A~B之間存在真正的波形起始點,當三角形抵住波形時,主動再向前探測m個點,若窗頭窗尾的高度差h’<h,判定之前圈定的起始點所在范圍無效,利用此判定規則檢測如圖 3(b)所示的干擾波形。

(a)規避干擾波形1; (b)規避干擾波形2
Figure3. Judging start point with height permitted window(a) Avoiding interference wave 1; (b) Avoiding interference wave 2
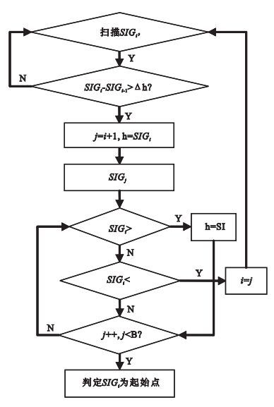
在圖 3(a)中A~B之間進行掃描,按照一定的規律尋找起始點。起始點判定規則如圖 4所示。這種判定規則,能夠有效規避圖 3(a)中波形起始點之前的干擾性波動,提高起始點判定的準確性。

事實上,在前面介紹的加權濾波可以將這兩種影響判定的干擾波形的干擾減弱很多,配合上述兩種判定規則:起始點圈定范圍有效性判定規則和起始點判定規則。能夠很好的規避干擾波形。
1.3 肌肉收縮動作結束的判定
肌肉完成收縮,反映在波形上,就是波形幅值的大幅降低和震蕩趨于平穩。利用這一原理,在找到起始點之后對波形的結束,即肌肉收縮動作的結束,進行判定。當原始sEMG信號的幅值以及權值q都低于相應的閾值(根據不同肌肉,閾值大小有所不同),即可認為肌肉結束收縮。判定肌肉收縮結束后,即可進行下一周期的肌肉收縮動作起始點的判定。
2 設計實驗
利用前面介紹的算法,針對單一肌肉進行起始點連續識別,可以得到行走的步速。針對特定肌肉進行起始點的連續識別,可以對支撐期和擺動期的開始時刻進行識別。
在擺動前期,為確保踝關節完成伸展動作,脛骨前肌開始興奮。足跟著地前,股二頭肌向心性收縮引起膝關節屈曲,然后股四頭肌向心性收縮以保持膝關節伸展位,為足跟著地做準備[9-10]。因此可一個利用脛骨前肌的sEMG信號識別擺動期的開始,股直肌的sEMG信號識別支撐期的開始。
2.1 識別支撐期、擺動期
設計實驗,讓6被測者在跑步機上分別以慢速、中速和快速三個速度勻速行走,通過采集6名被測者股直肌和脛骨前肌的sEMG信號,利用前面介紹的加權濾波移動窗和限高窗對信號進行離線分析,可得到支撐期和擺動期開始時刻。這6名被測者均為健全人,被測者1∶26歲男性、被測者2∶24歲男性、被測者3∶25歲男性、被測者4∶24歲女性、被測者5∶25歲女性、被測者6∶29歲女性。為驗證識別結果的可靠性,設計實驗時,在被測者的前腳掌和后腳跟加裝壓力傳感器,得到準確的支撐期和擺動期的開始時刻,以供和通過sEMG信號得到的時間點進行對比。具體過程通過VC編程實現。
當被測者被測腿的后腳跟著地,后腳跟的壓力值由低電平變成高電平,此時即為支撐期的開始。利用sEMG信號所得支撐期的開始時刻與腳底壓力所得支撐期的開始時刻對比結果如圖 5(a)所示。當測試者被測腿的前腳掌離地,前腳掌的壓力值由高電平變成低電平,此時即為擺動期的開始。利用sEMG信號所得擺動期的開始時刻與腳底壓力所得支撐期的開始時刻對比結果如圖 5(b)所示。

(a) 利用股直肌識別支撐期開始時刻;(b) 利用脛骨前肌識別擺動期開始時刻
Figure5. Identify stance phase and swing phase using sEMG signal(a) Identify stance phase using rectus femoris and; (b) Identify swing phase using tibialis anterior
2.2 誤差分析
根據式(3) 、(4) 列出表 1。由表 1可知在容忍時間范圍g分別為0.05 s和0.1 s時,被測者在不同速度下,通過sEMG信號對支撐期和擺動期的開始時刻的成功率p。
$e=\left| {{t}_{f}}-{{t}_{e}} \right|,$ |
$p=n/N\times 100%,$ |
其中e為足底壓力得到結果的差值的絕對值,tf為足底壓力得到擺動期開始時刻,te為sEMG信號得到擺動期開始時刻;n為誤差e落入可容忍時間范圍的次數,N為一組信號肌肉動作的總數。

表 1中,g為容忍時間范圍,即以腳底壓力信號得出的時間點為準,左右浮動的范圍。sEMG信號識別的時間點落入設定范圍,即認定此次識別成功。
從表 1中可以看出利用股直肌識別支撐期的成功率略低,這是因為股直肌在平地行走中幅值較低,波形上升較慢,給識別造成困難。更為主要的原因是股直肌開始收縮時間比支撐期的開始時間稍早。利用算法得到的股直肌開始收縮時間和支撐期開始時間有小的時間間隔,反映到表 1就是當g較小時,識別率有所下降。圖 6顯示了其中一位被測者在三種速度下隨g的變化而產生的成功率p的變化。在算法中可以根據經驗,簡單的給股直肌開始收縮時間加上Δt來填補這個時間間隔,從而提高識別率。但在實際應用中,股直肌這一特點對控制智能假肢有重要意義,它可使控制單元有充分時間做出控制動作。

2.3 結論
實驗結果證明,利用人體下肢sEMG信號對區分行走步態中的支撐期和擺動期的可行性。
從控制角度出發,sEMG信號作為信號源是可以滿足要求的。利用脛骨前肌的sEMG信號可以判斷擺動期的開始時刻,對于單側腿截肢的患者這一點是有實際意義的。由于殘疾人殘肢側所剩下肢肌肉不多,并且殘存肌肉大都被切割過,從殘肢提取全部的步態信息十分困難,但可以利用健肢和殘肢行走步態上的對稱性,采集健肢側的sEMG信號推斷殘肢當前的狀態以及殘肢側假肢應有的跟隨狀態。同時也能用去利用sEMG信號控制的下肢助行器,完成對非截肢患者雙下肢的助行控制。利用股直肌sEMG信號判斷支撐期的到來,本身有一定的預測性,這對控制策略的轉化提供了反應時間,可用于控制單側腿截肢,雙腿截肢患者所穿戴的假肢,同時也可用于下肢助行器的控制。
從移動窗算法的實用角度出發,對于sEMG信號中十分尖細陡峭的干擾波形,具有較好的濾波效果。對于肌肉實際動作的識別也有很高的準確率。所以,本文提出的基于移動窗的sEMG信號分析算法有很好的實用價值。
利用sEMG信號作為控制源,相對于非生物信號控制源,更能夠反映人本身意愿。sEMG信號本身為非平穩信號,采集環境又存在多種干擾,這就對sEMG信號的采集裝置提出了嚴格的要求。這也使得sEMG信號的自身穩定性很差,限制了sEMG信號自身的優勢。另外,sEMG信號中所要處理的信息量很大,對處理器的處理能力要求很高,以上兩點就導致了EMG信號智能假肢的控制機構開發的復雜程度和成本的上升。因此,今后的工作將繼續完善算法,提高文中提出的算法的實用價值,并進一步設計單側截肢患者健肢側sEMG信號采集與識別實驗,然后將識別結果在已有的假肢平臺上測試和驗證。
引言
在現有醫學條件下,截肢患者通常選擇佩戴假肢重新獲得一定的運動能力[1]。智能假肢為假肢佩戴者提供了更加舒適、可靠的選擇。智能假肢通過機械結構或者電子裝置等非人力手段來改變假肢膝關節的阻力。利用特定傳感器檢測步態特征,根據一定的控制方法來自動調整假肢膝關節的阻尼,可以隨著步行狀態的變化實時調整膝關節阻尼,如此可獲得出色的步態跟隨性和對稱性。再配合適當的機械結構,可保證假肢佩戴者的安全性。
目前,智能假肢主要通過霍爾、陀螺儀、加速度計等傳感器采集人體下肢運動信息作為控制假肢的信號源[2-3]。除此之外,很多學者提出采集人體下肢表面肌電(surface electromyographic,sEMG)信號,作為控制假肢的信號[4]。肌電(electromyogram,EMG)信號是一種周圍神經系統級別的標準信號,它可以反映出肌肉活動狀態,sEMG信號是其在皮膚表面綜合效應的反映。sEMG信號的測量相比于EMG信號和其他生理電信號,具有容易測量、信號幅值較大等特點。現在已經有學者在設計和使用利用無線設備傳輸的EMG信號和ECG信號檢測裝置[5]。更加有利于這類人體生理信號的采集和分析。此外,sEMG信號與其他人體運動學信息相比,具有能夠反映人運動意識的特點。因為,EMG信號是刺激肌肉收縮的直接因素,所以EMG信號是因,肌肉收縮是果。EMG信號的根源是神經電信號,神經電信號來自神經中樞(不一定是大腦)。國外有些研究機構和學者,針對sEMG信號的這一優點,正在研制新型智能上肢假肢和電腦人機接口。但是sEMG信號的采集環境較為復雜,包含了很多噪聲,使得sEMG信號變得不穩定。而且sEMG信號用去控制下肢假肢還有一個主要特點,它是時變的,同一運動模式下,sEMG信號的具體表現是有差別的[6]。如圖 1中,EMG信號在每個周期中大致的趨勢是一樣的,但細節處差別很大。這就是利用sEMG信號作為控制信號需要克服的一個問題。本文主要針對人體下肢sEMG信號在控制下肢假肢中的應用展開討論。

在智能假肢的控制中對人行走步態的劃分是很重要的。人行走步態可劃分為支撐期和擺動期,在不同的階段對假肢的控制策略是不同的。本文通過對sEMG信號的濾波、特征值提取進行算法開發,并設計驗證實驗,利用sEMG信號對支撐期、擺動期進行區分,探索sEMG信號在控制下肢假肢中的可用性。
1 肌肉動作識別
人體行走是在下肢各塊肌肉按一定規律收縮、舒張來完成的,人行走在不同的路況下,肌肉的收縮規律有所不同,這也是本文對路況識別的理論基礎。第一步要做的就是通過sEMG信號對肌肉動作的進行識別。
本文采用Thought Technology公司出品的Infiniti(MODEL SA7550)人體生理信息采集系統,采集人體下肢肌肉sEMG信號。該采集系統對原始EMG信號進行整流、放大、均方根處理,采樣頻率為256,得到預處理的sEMG信號。利用小波分析、移動平均濾波等方法對先對波形進行濾波處理,再進行特征值的提取[7]。這樣就破壞了算法的實時性。在本文設計實驗中將得到的預處理過的sEMG信號作為的原始信號,保證后面介紹的算法的實時性,而算法中有濾波步驟。
通過sEMG信號對肌肉動作的進行識別,是識別步態周期和路況的基礎。識別主要分為對肌肉收縮開始時刻的識別和收縮結束時刻的識別。難點在于,sEMG信號是非平穩信號,是各種頻率成分的波形的疊加。在肌肉靜息狀態和收縮狀態的轉換過程中伴隨很多大小不等的震動,肌肉在收縮過程中也有很多高頻成分,如圖 1所示。
由于sEMG自身信號的特點,使得使用簡單的閾值法對其進行分析結果十分不準確,針對這一缺陷,本文采用移動窗的方法加以解決。
1.1 加權濾波移動窗
在對連續信號進行采樣后的數據進行分析時,可采取一種移動窗的方法,在一段數據內提取特征值,如平均值,隨著移動窗向前移動,能夠分析完整段信號[8]。這樣做的好處在于利于特征值的提取,降低算法的復雜性,提高算法的魯棒性。
本文采用由兩層窗的組成的疊加窗來分析sEMG信號。第一層窗負責對波形進行濾波,為第二層窗的肌肉起始動作的識別提供條件。
第一層窗叫加權濾波窗。加權濾波就是給原始sEMG信號每個采樣點的幅值進行加權,使得波形更加整齊,利于后面的分析、處理。所加權值由窗內各點與前一點差值的絕對值通過求和平均得到的。計算公式為
$q=\frac{\sum\limits_{i=0}^{n-1}{\left| si{{g}_{i+1}}-si{{g}_{i}} \right|}}{n},$ |
$SI{{G}_{k}}=q*si{{g}_{n/2}},$ |
其中q為所求權值;n為窗的長度,即窗內采樣點個數,k為移動窗的次序,sigi為窗內第i點的幅值,SIGk為第k個窗口加權濾波后的sEMG信號幅值。
每個窗得到一個權值q,這個權值反映了這個窗內幅值震蕩的激烈程度,側面反映了窗內高頻成分的多少。一般在sEMG信號上升后q值變大,信號震蕩劇烈,高頻成分增多。用移動窗求得的對應圖 1中信號的權值的曲線如圖 2(a)所示。
下面要做的就是加權。把q作為權值乘以對應點sEMG信號的幅值,意義在于把真正的大幅震動和前面所提到了起振前的小幅震蕩區分的更加明顯。因為起振前的小幅震蕩雖然看起來雜亂,但高頻成分比肌肉真正開始收縮后要少的多,再乘以較小的幅值就能和較大的q值乘以肌肉真正收縮時較大的幅值區分的更加明顯。然后除以一定的倍數,使得波形整體基本回歸正常幅值水平。這樣就起到了濾波的作用。圖 1中信號加權濾波的結果如圖 2(b)所示。
窗的長度是n,即含有n個采樣點,則有n個點可以選來進行加權。一般選擇窗頭、窗尾、窗中點。如果選擇窗頭,權值體現該點之前一段時間內的波形震蕩情況,加權濾波窗就可和后面的限高窗合為一個窗,不影響實時性。如果選擇窗中點,則能體現某一時刻前后一段時間的震蕩情況,體現的震蕩信息更完整,但會使得后面限高窗的移動相對加權濾波窗滯后一段時間。這也是為什么把這兩個移動窗叫做雙層窗,而不是一層窗中的兩種特征值。選取窗中點進行加權的加權公式如式(2) 所示。
1.2 限高窗
限高窗是一個窗頭和窗尾高度差不超過一個定值h,窗的長度不超過n的移動窗,可以看作一個兩個直角邊為定值的移動直角三角形,如圖 3所示。三角形向右移動,當三角形抵住波形時,即移動窗的窗頭值與窗尾值的差大于等于h時,要找的起始點圈定在圖 3(a)中A~B之間。為保證A~B之間存在真正的波形起始點,當三角形抵住波形時,主動再向前探測m個點,若窗頭窗尾的高度差h’<h,判定之前圈定的起始點所在范圍無效,利用此判定規則檢測如圖 3(b)所示的干擾波形。

(a)規避干擾波形1; (b)規避干擾波形2
Figure3. Judging start point with height permitted window(a) Avoiding interference wave 1; (b) Avoiding interference wave 2
在圖 3(a)中A~B之間進行掃描,按照一定的規律尋找起始點。起始點判定規則如圖 4所示。這種判定規則,能夠有效規避圖 3(a)中波形起始點之前的干擾性波動,提高起始點判定的準確性。

事實上,在前面介紹的加權濾波可以將這兩種影響判定的干擾波形的干擾減弱很多,配合上述兩種判定規則:起始點圈定范圍有效性判定規則和起始點判定規則。能夠很好的規避干擾波形。
1.3 肌肉收縮動作結束的判定
肌肉完成收縮,反映在波形上,就是波形幅值的大幅降低和震蕩趨于平穩。利用這一原理,在找到起始點之后對波形的結束,即肌肉收縮動作的結束,進行判定。當原始sEMG信號的幅值以及權值q都低于相應的閾值(根據不同肌肉,閾值大小有所不同),即可認為肌肉結束收縮。判定肌肉收縮結束后,即可進行下一周期的肌肉收縮動作起始點的判定。
2 設計實驗
利用前面介紹的算法,針對單一肌肉進行起始點連續識別,可以得到行走的步速。針對特定肌肉進行起始點的連續識別,可以對支撐期和擺動期的開始時刻進行識別。
在擺動前期,為確保踝關節完成伸展動作,脛骨前肌開始興奮。足跟著地前,股二頭肌向心性收縮引起膝關節屈曲,然后股四頭肌向心性收縮以保持膝關節伸展位,為足跟著地做準備[9-10]。因此可一個利用脛骨前肌的sEMG信號識別擺動期的開始,股直肌的sEMG信號識別支撐期的開始。
2.1 識別支撐期、擺動期
設計實驗,讓6被測者在跑步機上分別以慢速、中速和快速三個速度勻速行走,通過采集6名被測者股直肌和脛骨前肌的sEMG信號,利用前面介紹的加權濾波移動窗和限高窗對信號進行離線分析,可得到支撐期和擺動期開始時刻。這6名被測者均為健全人,被測者1∶26歲男性、被測者2∶24歲男性、被測者3∶25歲男性、被測者4∶24歲女性、被測者5∶25歲女性、被測者6∶29歲女性。為驗證識別結果的可靠性,設計實驗時,在被測者的前腳掌和后腳跟加裝壓力傳感器,得到準確的支撐期和擺動期的開始時刻,以供和通過sEMG信號得到的時間點進行對比。具體過程通過VC編程實現。
當被測者被測腿的后腳跟著地,后腳跟的壓力值由低電平變成高電平,此時即為支撐期的開始。利用sEMG信號所得支撐期的開始時刻與腳底壓力所得支撐期的開始時刻對比結果如圖 5(a)所示。當測試者被測腿的前腳掌離地,前腳掌的壓力值由高電平變成低電平,此時即為擺動期的開始。利用sEMG信號所得擺動期的開始時刻與腳底壓力所得支撐期的開始時刻對比結果如圖 5(b)所示。

(a) 利用股直肌識別支撐期開始時刻;(b) 利用脛骨前肌識別擺動期開始時刻
Figure5. Identify stance phase and swing phase using sEMG signal(a) Identify stance phase using rectus femoris and; (b) Identify swing phase using tibialis anterior
2.2 誤差分析
根據式(3) 、(4) 列出表 1。由表 1可知在容忍時間范圍g分別為0.05 s和0.1 s時,被測者在不同速度下,通過sEMG信號對支撐期和擺動期的開始時刻的成功率p。
$e=\left| {{t}_{f}}-{{t}_{e}} \right|,$ |
$p=n/N\times 100%,$ |
其中e為足底壓力得到結果的差值的絕對值,tf為足底壓力得到擺動期開始時刻,te為sEMG信號得到擺動期開始時刻;n為誤差e落入可容忍時間范圍的次數,N為一組信號肌肉動作的總數。

表 1中,g為容忍時間范圍,即以腳底壓力信號得出的時間點為準,左右浮動的范圍。sEMG信號識別的時間點落入設定范圍,即認定此次識別成功。
從表 1中可以看出利用股直肌識別支撐期的成功率略低,這是因為股直肌在平地行走中幅值較低,波形上升較慢,給識別造成困難。更為主要的原因是股直肌開始收縮時間比支撐期的開始時間稍早。利用算法得到的股直肌開始收縮時間和支撐期開始時間有小的時間間隔,反映到表 1就是當g較小時,識別率有所下降。圖 6顯示了其中一位被測者在三種速度下隨g的變化而產生的成功率p的變化。在算法中可以根據經驗,簡單的給股直肌開始收縮時間加上Δt來填補這個時間間隔,從而提高識別率。但在實際應用中,股直肌這一特點對控制智能假肢有重要意義,它可使控制單元有充分時間做出控制動作。

2.3 結論
實驗結果證明,利用人體下肢sEMG信號對區分行走步態中的支撐期和擺動期的可行性。
從控制角度出發,sEMG信號作為信號源是可以滿足要求的。利用脛骨前肌的sEMG信號可以判斷擺動期的開始時刻,對于單側腿截肢的患者這一點是有實際意義的。由于殘疾人殘肢側所剩下肢肌肉不多,并且殘存肌肉大都被切割過,從殘肢提取全部的步態信息十分困難,但可以利用健肢和殘肢行走步態上的對稱性,采集健肢側的sEMG信號推斷殘肢當前的狀態以及殘肢側假肢應有的跟隨狀態。同時也能用去利用sEMG信號控制的下肢助行器,完成對非截肢患者雙下肢的助行控制。利用股直肌sEMG信號判斷支撐期的到來,本身有一定的預測性,這對控制策略的轉化提供了反應時間,可用于控制單側腿截肢,雙腿截肢患者所穿戴的假肢,同時也可用于下肢助行器的控制。
從移動窗算法的實用角度出發,對于sEMG信號中十分尖細陡峭的干擾波形,具有較好的濾波效果。對于肌肉實際動作的識別也有很高的準確率。所以,本文提出的基于移動窗的sEMG信號分析算法有很好的實用價值。
利用sEMG信號作為控制源,相對于非生物信號控制源,更能夠反映人本身意愿。sEMG信號本身為非平穩信號,采集環境又存在多種干擾,這就對sEMG信號的采集裝置提出了嚴格的要求。這也使得sEMG信號的自身穩定性很差,限制了sEMG信號自身的優勢。另外,sEMG信號中所要處理的信息量很大,對處理器的處理能力要求很高,以上兩點就導致了EMG信號智能假肢的控制機構開發的復雜程度和成本的上升。因此,今后的工作將繼續完善算法,提高文中提出的算法的實用價值,并進一步設計單側截肢患者健肢側sEMG信號采集與識別實驗,然后將識別結果在已有的假肢平臺上測試和驗證。